Content
概要
UTAGEのシナリオから配信したメールやLINEメッセージ(ステップ/リマインダ/一斉送信)は、送信数や開封やクリックの分析が可能です。
※関連マニュアル
送信済みのステップ配信/リマインダ配信/一斉送信はどこで確認できますか?
確認箇所
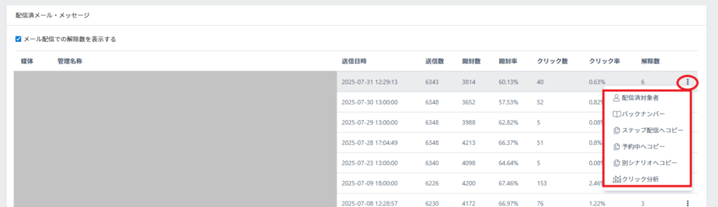
メール・LINE配信 > アカウント > シナリオ > 左メニュー【送信済】にて
ステップ配信/リマインダ配信/一斉送信ごとに確認が可能です。
各配信単位で、送信数、開封数/開封率、クリック数/クリック率が表示されます。
各配信の【︙】マークより【クリック分析】【開封分析】をご確認いただけます。
クリック分析
URLごとの【クリック数(ユニーク)】【クリック率】や、【クリックユーザー】が確認可能です。

開封分析
該当配信の【開封数(ユニーク)】【開封率】や、
【開封ユーザー】(開封日時・メールアドレス・LINE登録名)が確認可能です。

※メール配信は、テキスト形式/HTML形式のどちらでも計測可能です。
※受信環境によっては開封していなくても開封と判定されたり、開封していても開封と判定されないことがあります。
※LINE配信の場合、開封計測対象のメッセージのみ計測されます。
開封率が計測される仕組み
メールを配信する際、計測用のパラメータが付与された画像参照パスが挿入されます。
読者がテキストメール・HTMLメールを開いた際、この空画像が参照されることで開封をカウントする仕組みとなっています。
そのため、受信者側がメール設定で画像を非表示にしていると開封率の計測ができません。
LINEの開封数が0・開封率が0%になっている場合
LINE配信の開封数・開封率は、
LINEメッセージ本文内にリンクURL等のURLを含む場合のみ開封率の計測対象となり、
LINEメッセージ本文にURLの記載がない場合は計測の対象となりません。
送信数が表示されている場合、配信はされています。
あくまでもLINEメッセージ内にURLを含む場合のみ計測対象となりますので
以下のケースは開封率の計測対象外となります。
・LINEメッセージ(URLなし)+ボタン(URLを開く)のようにボタンのみにURLを設定した場合
・上記同様に、画像やカルーセルのみにURLを設定した場合




